导读
上一篇文章讲了如何利用MCU实现接近式磁感应技术,本篇将介绍RL78/G23用于感应式接近传感应用的主要特性。
RL78/G23用于感应式接近传感应用
的主要特性
RL78/G23具备需要为高精度与高效率设计的应用,是用于方位感应、动态和接近传感平稳协调应用的理想之选。
下图展示了新一代RL78通用微控制器的特性/功能,具有进一步改良的低功耗性能以及可拓展的外设功能。

图2:RL78/G23的扩展功能框架图
于上述内容所带来的启示,下面就让我们来研究一下RL78/G23是怎样成为这些高级应用的理想之选吧。
1优化的设计架构
(参考图5)
a. 可旋转的传感器并集成LED指示灯;
b. 独立平面铁氧体磁芯线圈加持的按钮;
c. 外部线圈专属连接端口;
d. PMOD连接端口(Type 2A- expanded SPI and Type 4A- expanded UART用于系统配置)配备额外的可配置电阻选项,可将其中任何连接方式转换为I2C;
e. 低功耗模式;
f. 可供选择的电源供电选项——硬币电池、+5V mICro-USB或+12V直流连接端口。
RL78/G23 MCU具有为低功耗应用设计的优化架构,且并未影响性能。此种架构保障了基于感应的接近传感算法的高效施行,在响应性与节能间达成了兼顾。
2集成模拟前端(AFE)
基于感应的接近传感极度倚仗精确的模拟信号处理。RL78/G23的集成AFE在保障模拟信号精确可靠转换上有着出了极为关键的作用。片内比较器运用简单的二进制检测“目标存在”或“不存在”,而非繁杂的信号处理。RL78/G23内置AFE监测电磁场的衰变,借由分析传感器电磁场的变化来探明目标的存在与否。逐次逼近法能有效估量目标距离,无需较高的处理能力。
如此,系统设计更为简易,使用的外部元件更少,进而降低了成本并优化了性能。即便应用于极具挑战的环境中,也能施行精准可靠的接近检测,与此消减了多于的组件和材料(BOM),从而实现了极大程度的成本降低。AFE为设计人员提供了构建高效、经济且易于部署的感应式接近传感解决方案所需的工具。
3专用计时器单元
接近式传感往往需要针对数据采集与信号处理实施精确定时。RL78/G23 MCU配置了专用的32位低功耗定时器单元,有益于达成精确的定时操控。这些定时器增进了MCU 与如旋转、平面和铁氧体传感器组等电感式传感器同步的能力,进而达成了高效的同步接近测量。一旦结束所有组的扫描,STOP模式就会被激活,直至间隔定时器中断被激活并开启另一组测量。

图3:扫描顺序和测量机制
4高速数据处理
时间敏感型应用需要具有快速数据处理能力的MCU方可。RL78/G23内置32MHz的高速时钟,能够迅速执行指令。在高速数据处理上表现卓异,可切实保证对电感式传感器输出予以实时的分析。这种能力对于那些需要针对接近式变化做出瞬时响应的应用而言,是极其重要的。
5低功耗
能效乃是RL78/G23设计的基石所在。其低功耗对于那些长时间需使用电池供电的非常重要的应用大有裨益。RL78/G23具备一个高速时钟,利用片内高速振荡器配置成32MHz,而该振荡器即为CPU和大多数其外设的时钟源。用于控制扫描周期的低功耗定时器采用频率为32.768kHz的外部XT1晶体振荡器。

图4:RL78/G23智能低功耗休眠功能
RL78/G23 MCU能够在低功耗模式下工作,同时保持响应速度,因此更适合电池供电设备。
6丰富的周边设备
RL78/G23具备丰富的外设,当中包含通信接口以及通用I/O。
这种多功能性,让开发人员得以实现定制功能,且能与其元件无缝衔接,进而拓展了基于电感的接近式感应的应用范围。
7强大的生态系统和开发支持
瑞萨作为RL78/G23的制造商,提供了强劲的开发工具以及资源生态系统。其中包含开发套件与文档的全方位支持,使得工程师能够在其接近传感应用中,充分发掘RL78/G23的潜力。
RL78/G23集成了先进的模拟功能、低功耗特性以及丰富的外设组件,非常适合各种检测应用。接近式传感应用注重精度和响应速度,涵盖了从智能家居设备到工业自动化等各个领域。
展望微控制器与基于感应式接近传感的协同应用将呈现指数级增长。RL78/G23依托强大的生态系统和开发支持,为持续创新打下了坚实的基础。瑞萨在推动MCU的动态发展方面处于领先地位,引领我们进入由这些设备塑造的互联、传感器驱动的未来世界,并在其中有着核心的作用。

图5:电感应接近式传感器屏蔽套件

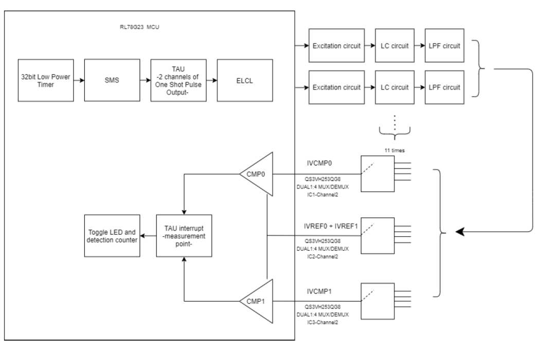
图6:硬件框架图
References
• RL78/G23–外围功能得到进一步扩展,低功耗性能也有所提升的新一代微控制器。
• RL78/G23 Inductive Proximity Sensor Shield Kit – RL78/G23 64-pin Fast Prototyping Board (FPB)合适的感应式接近传感扩展板。